首页 >> 娱乐八卦

德云社为什么要封箱(德云社封箱2022封箱时间)

2023-01-14 娱乐八卦 9892 作者:网友投稿

已获批!4月26日德云社封箱演出,与孟鹤堂生日同一天!



4月5日,网传“辛丑年德云社封箱演出”,不少黄牛票贩开始在网上买票售座。并且还将具体演出时间也公布了出来。

一时间,不少德云粉丝票友欣喜若狂,毕竟近两年疫情反复,德云社所属的大型演出一个手指头都能数得过来。


众所周知,近两年德云社的开箱和封箱一直是“有头没尾,有尾没头”。

受疫情影响,德云社的开箱封箱时间经常和干支年份是驴唇不对马嘴,延期一年更不是稀奇事儿。


2022年,现观粉丝们最喜欢的德云社作品,《瓦舍江湖》已经播完,而综艺《德云斗笑社》也需要等到第三季度才能上线。

这漫长的等待期着实无聊!


针对网传的《辛丑年德云社封箱相声专场演出》,其实原定演出日期在2022年1月25日。

但当时受疫情影响,德云社只能公告演出延期举办。直到现在,举办方也没能下发演出通知。


对于黄牛口中的“封箱演出”,不少网友也是表示怀疑,毕竟现在国内各地疫情反反复复,对于聚集性的大型演出,难保能获准批行。

况且目前德云社也还未正式官宣封箱,出票。


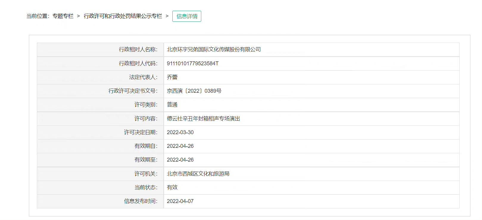
4月7日,距离黄牛放出消息两天。一直负责德云社大型演出的“北京环宇兄弟国际文化传媒”正式获批演出许可公示。

而获批的演出项目暨“德云社辛丑年封箱相声专场演出”,信息发布时间为4月7日,演出时间为4月26日。


不得不说,这黄牛能处!有演出他是真卖票!

不少网友也纷纷调侃:牛们消息真快,这群人从来不拿挣钱开玩笑,他们是真做生意!

你可以永远相信牛们的消息,比官微都快!


值得关注的是,4月26日不光有德云社的封箱演出,当天还是相声演员孟鹤堂的生日。可谓是“双喜临门”!

想必封箱这天,孟鹤堂周九良也会成为台上的焦点。不知道在封箱节目中会不会特意安排孟鹤堂周九良的节目呢?


从几时起,德云社的封箱不光是一场场的相声,也是一场“大褂秀场”。平日不常见的相声演员,在封箱时都会回京聚集在一起,为大家献上精彩的节目。

像“前几年最红的演员”岳云鹏,少班主郭麒麟,小辫儿张云雷,秦霄贤等等。而郭德纲必踢孟鹤堂也成了“封箱必演节目之一”,不踢孟鹤堂的封箱总是有些许遗憾的。


End:希望4月26日的德云社封箱能够如期举行!期待开票日,也期待这场久违的大褂秀!

关于我们

通辽供卵公司联系方式✅微信ivf0096✅只需8~14天,年龄18~28岁✅按身高,学历,长相✅分二代三代来决定价格✅来回报销车费✅提供吃住,通辽供卵机构和正规供卵医院合作✅

最火推荐

小编推荐

联系我们


Copyright Your bbs0724.com Some Rights Reserved. 备案号:鄂ICP备15020773号-7
网站所载资料并非有意侵犯您的版权,如需删除投诉,请邮件联系我们及时处理。